3.1. Транзисторный электротермометр

Красунцев Е. [8]

В качестве термочувствительного элемента в этом термометре применен германиевый транзистор, у которого увеличение температуры эмиттерного перехода приводит к уменьшению на нем падения напряжения. В результате изменяется ток базы, что сопровождается усиленным изменением коллекторного тока и падением напряжения на коллекторной нагрузке.

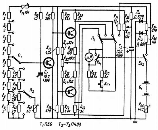
Принципиальная схема термометра приведена на рис. 9.

Рис. 9. Принципиальная схема транзисторного электротермометра

Температурный датчик выполнен из поливинилхлоридной трубки длиной около 2 м, на конце которой укреплен транзистор Т1, соединенный с прибором тремя проводами. Пределы измерения термометра устанавливаются переключателями П1 и П2, причем величина каждой позиции П1 составляет 1 °C, а П2 — 10 °C. Так, в нижнем по схеме положении обоих переключателей предел измерения равен 1 °C, а в верхнем — 50 °C.

С нагрузки коллектора Т1 напряжение поступает на один из входов дифференциального усилителя — на базу транзистора Т2. На второй вход — на базу транзистора T3 подается напряжение 0,75 В с делителя R18, R19. Разность между потенциалами коллекторов Т2 и T3 поступает через переключатель ПЗ (в левом положении по схеме) на вольтметр — микроамперметр с добавочным резистором. Питание подается на устройство с четырех последовательно соединенных батарей 3336 через двухступенчатый параметрический стабилизатор на стабилитронах Д1 и Д2. Напряжение батарей контролируется вольтметром при правом по схеме положении переключателя ПЗ.

При налаживании термометра с помощью переменного резистора R36 устанавливают ток стабилитронов в пределах 5–6 мА и измеряют напряжение батарей. В процессе эксплуатации по мере разряда батарей резистором R36 восстанавливают указанное напряжение. Балансировка дифференциального усилителя при налаживании (установка прибора на нуль шкалы) производится переменным резистором R22 при отключенной базе Т2 от коллектора Т1 и переменным резистором R32 при соединенных накоротко базах Т2 и ТЗ. Эти операции выполняют несколько раз подряд. Затем переменными резисторами R14 и R15 устанавливают границы диапазонов измеряемых температур.

Вместо транзистора П5Б можно использовать ГТ108А, а вместо П403-КТ361 Б.

Более 800 000 книг и аудиокниг! 📚

Получи 2 месяца Литрес Подписки в подарок и наслаждайся неограниченным чтением

ПОЛУЧИТЬ ПОДАРОК